L'ancienne église priorale, construite à la fin du 11e siècle et confirmée en 1164, dépendait de l'abbaye Notre-Dame d'Evron. Elle fut remaniée au 14e siècle et un porche faisant sans doute fonction d'ossuaire fut élevé vers 1511 comme l'attestait une inscription rapportée par Paul Banéat : M VCC XI FUT FAICT PORTE MORTUAIRE DE LAIGNELET. L'église actuelle a été construite en 1888 sur les plans de l'architecte Louis Hérault.
Dossier d’œuvre architecture IA00130916
| Réalisé par
Barbedor Isabelle
;
Barbedor Isabelle
Cliquez pour effectuer une recherche sur cette personne.
- enquête thématique départementale, Inventaire des églises et chapelles d'Ille-et-Vilaine
- inventaire topographique, Fougères communauté
Prieuré de bénédictins, église paroissiale Saint-Martin (Laignelet)
Œuvre étudiée
Auteur
Copyright
- (c) Inventaire général, ADAGP
Dossier non géolocalisé
Localisation
-
Aire d'étude et canton
Pays de Fougères - Fougères Nord
-
Commune
Laignelet
-
Cadastre
1985
AB
37
-
Dénominationsprieuré, église paroissiale
-
Genrede bénédictins
-
VocablesSaint-Martin
-
Période(s)
- Principale : 4e quart 19e siècle
-
Dates
- 1511, daté par travaux historiques
- 1888, daté par source
-
Auteur(s)
- Auteur : architecte attribution par travaux historiques
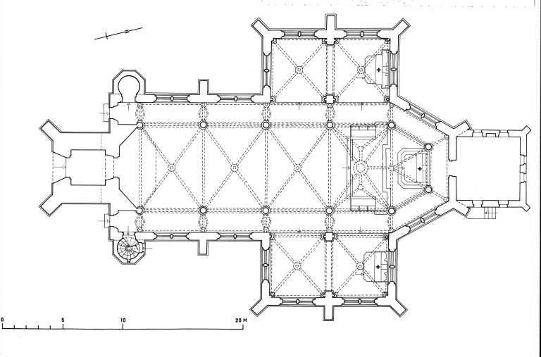
Plan en croix latine, voûte d'ogives, clocher-porche, sacristie accolée au chevet, chevet à pans coupés.
-
Murs
- granite
- moellon
-
Toitsardoise
-
Plansplan en croix latine
-
Étages1 vaisseau
-
Couvrements
- voûte d'ogives
-
Couvertures
- toit à longs pans
- noue
- croupe polygonale
- pignon découvert
-
Typologiesclocher-porche ; chevet à pans coupés ; sacristie accolée au chevet, style néogothique
-
Statut de la propriétépropriété publique
- (c) Inventaire général, ADAGP
- (c) Inventaire général, ADAGP
- (c) Inventaire général, ADAGP
- (c) Inventaire général, ADAGP
- (c) Inventaire général, ADAGP
- (c) Inventaire général, ADAGP
- (c) Inventaire général, ADAGP
- (c) Inventaire général, ADAGP
- (c) Inventaire général, ADAGP
- (c) Région Bretagne
- (c) Région Bretagne
- (c) Région Bretagne
- (c) Région Bretagne
Date(s) d'enquête :
1994;
Date(s) de rédaction :
1994,
2014
(c) Inventaire général
(c) Conseil général d'Ille-et-Vilaine
Barbedor Isabelle
Barbedor Isabelle
Cliquez pour effectuer une recherche sur cette personne.
Articulation des dossiers
Photographe à l'Inventaire