Photographe à l'Inventaire
- enquête thématique régionale, Inventaire des fortifications littorales de Bretagne
- enquête thématique régionale, Inventaire des héritages militaires en Bretagne
- (c) Inventaire général, ADAGP
Dossier non géolocalisé
-
Aire d'étude et canton
Bretagne - Crozon
-
Commune
Roscanvel
-
Lieu-dit
Pointe de Tremet
-
Cadastre
OE
387
-
Dénominationsbatterie
-
AppellationsBatterie de Tremet, Batterie du cap de Tremet
Le site de la batterie d'artillerie de Tremet n’est pas accessible car c'est une emprise militaire protégée.
Le site de Tremet à Roscanvel est occupé militairement depuis 1694 au moins. Plusieurs batteries d’artillerie de côte se succèdent sur la pointe ; une nouvelle batterie d'artillerie est construite en 1883-1884 pour la défense du vestibule.
En 1954-1955, dans le contexte de la Guerre froide, le site de Tremet est doté d'une batterie d'artillerie antiaérienne fixe de la Marine armée de 4 canons de 10,5 cm SK C/32 de récupération sous tourelle blindée.
A l'échelle nationale, Trémet et Peyras à La Seyne-sur-Mer dans le Var, sont les deux seules nouvelles batteries d’artilleries fixes de la Marine mises en place à cette époque - avec vocation de batterie école - sur d'anciens ouvrages défensifs, avec des pièces ex-allemandes de 10,5 cm SK C/32. Seule la batterie de Peyras a conservé ses quatre canons antiaériens allemands de 10,5 cm sous tourelle blindée récupérés à Lorient.
Créé en 2002, ce dossier d’Inventaire du patrimoine a été mis à jour en 2026 dans le cadre de l'Inventaire des héritages militaires porté par la Région Bretagne. Le dossier profite de la couverture photographique réalisée en 1969 pour Philippe Truttmann (1934-2007), lieutenant-colonel du Génie, spécialiste de l’architecture militaire.
Le site de la pointe de Tremet à Roscanvel est occupé depuis 1694 par une batterie d’artillerie destinée à défendre le vestibule du goulet de Brest et l’anse de Camaret.
En 1747, la batterie du "Haut Tremet" est armée de quatre canons de 24 livres de balle et de sept canons de 18 livres de balle ; celle du "Cap Tremet" (correspondant à la batterie de l'anse du Diable ?) est armée de huit canons de 36 livres de balle.
En 1778, la batterie du "Cap Tremet", doté d'un corps de garde et d'un magasin à poudre, est armée de huit canons de 36 livres de balle et d'un mortier de 12 pouces.
En 1858, la batterie de Tremet est armée de trois canons de 30 livres modèle 1840 sur affût pivotant, de deux obusiers de 22 cm modèle 1827 sur affût de fer pivotant et de deux pièces de mortier de 32 cm. Celle de la Fraternité au nord compte cinq canons et celle des lignes de Quélern au sud, six canons.
Construite en 1883-1884 (son magasin à poudre est daté par millésime de 1884), la nouvelle batterie d’artillerie de Tremet est armée de six canons G de 19 cm modèle 1875-76 sur affût G PC [plate-forme de côte] et de deux canons de 16 cm modèle 1858-60.
En 1893 est aménagé un petit magasin à munitions sous roc.
En 1896, est implantée légèrement au nord de cette batterie, une batterie d’artillerie annexe armée de quatre canons G de 95 mm sur affût de campagne, puis sur affût G de côte.
En 1912, la batterie d’artillerie de 19 cm est modernisée et armée avec quatre canons G de 240 mm modèle 1903 TR [tir rapide] sur affût G modèle 1903 (identiques à la batterie de 240 mm à tir rapide de Toulbroc'h à Locmaria-Plouzané).
En 1915, elle perd un canon.
Son armement est conservé jusqu’en 1940.
Durant la Seconde Guerre mondiale, la batterie de Tremet forme l’ensemble fortifié numéroté "Cr 340".
En 1954, dans le contexte de la Guerre froide, une batterie d’artillerie antiaérienne armée de quatre canons allemands de 10,5 cm de récupération sous tourelle blindée est construite par l’entreprise A. Marc et frères.
Les cuves ont été désarmées après 1969.
-
Période(s)
- Principale : 4e quart 19e siècle
- Secondaire : 1er quart 20e siècle, 3e quart 20e siècle
-
Dates
- 1883, daté par travaux historiques
- 1884, daté par travaux historiques, porte la date
- 1955, daté par travaux historiques
L’état actuel des batteries de Tremet n’est pas connu.
-
Murs
- terre
- pierre maçonnerie
- béton armé
-
Toitspierre en couverture, béton en couverture, terre en couverture
-
Couvertures
- terrasse
-
Statut de la propriétépropriété de l'Etat, parcelle appartenant au ministère des Armées
-
Intérêt de l'œuvrevestiges de guerre, à signaler
-
Éléments remarquablesbatterie
-
Sites de protectionsite classé
-
Précisions sur la protection
Site classé par arrêté du 16 janvier 1978.
Site classé en 1978 au titre de la loi du 2 mai 1930 sur la protection des monuments naturels et des sites dont la conservation ou la préservation présente, au point de vue artistique, historique, scientifique, légendaire ou pittoresque, un intérêt général.
- (c) Archives départementales du Finistère
- (c) Inventaire général, ADAGP
- (c) Inventaire général, ADAGP
- (c) Inventaire général, ADAGP
- (c) Inventaire général, ADAGP
- (c) Inventaire général, ADAGP
- (c) Inventaire général, ADAGP
- (c) Inventaire général, ADAGP
- (c) Inventaire général, ADAGP
- (c) Inventaire général, ADAGP
- (c) Inventaire général, ADAGP
- (c) Inventaire général, ADAGP
- (c) Inventaire général, ADAGP
- (c) Inventaire général, ADAGP
- (c) Inventaire général, ADAGP
- (c) Inventaire général, ADAGP
- (c) Inventaire général, ADAGP
- (c) Inventaire général, ADAGP
- (c) Inventaire général, ADAGP
- (c) Inventaire général, ADAGP
- (c) Inventaire général, ADAGP
- (c) Inventaire général, ADAGP
- (c) Inventaire général, ADAGP
- (c) Inventaire général, ADAGP
- (c) Inventaire général, ADAGP
- (c) Inventaire général, ADAGP
- (c) Inventaire général, ADAGP
- (c) Inventaire général, ADAGP
- (c) Inventaire général, ADAGP
- (c) Inventaire général, ADAGP
- (c) Inventaire général, ADAGP
- (c) Inventaire général, ADAGP
- (c) Inventaire général, ADAGP
- (c) Inventaire général, ADAGP
- (c) Inventaire général, ADAGP
- (c) Inventaire général, ADAGP
- (c) Inventaire général, ADAGP
- (c) Inventaire général, ADAGP
- (c) Inventaire général, ADAGP
- (c) Inventaire général, ADAGP
- (c) Inventaire général, ADAGP
- (c) Inventaire général, ADAGP
- (c) Inventaire général, ADAGP
- (c) Inventaire général, ADAGP
- (c) Inventaire général, ADAGP
- (c) Inventaire général, ADAGP
Documents d'archives
-
Service Historique de la Défense de Brest : 2/K/4/89 : novembre 1953-mai 1954
Direction des travaux maritimes de Brest : dossiers de marchés publics de travaux (1884-1995).
Répertoire numérique de la sous-série 2 K 4.
Instrument de recherche.
Batteries de Tremet (presqu’île de Roscanvel), reconstruction (A. Marc et frères, à Brest) (10 décembre 1953).
Bibliographie
-
www.fortiff.be/iff/index. "Index de la fortification française 1874-1914". MALCHAIRE, Luc. FRIJNS, Marco. MOULINS, Jean-Jacques. PUELINCKX, Jean. Dernière mise à jour : janvier 2008.
-
TRUTTMANN, Philippe. "Architecture militaire" In CALVEZ, Louis (dir.) La Presqu´île de Crozon : histoire, art, nature. Paris : Nouvelle Librairie de France, 1975.
-
FRIJNS, Marco, MALCHAIR, Luc, MOULINS, Jean-Jacques, PUELINCKX, Jean. Index de la fortification française. Métropole et Outre-mer. 1874-1914. Vottem (Belgique) : autoédition, 2008, 832 p.
-
Région Bretagne (Service de l'Inventaire du patrimoine culturel)
LÉCUILLIER, Guillaume (dir.), BESSELIÈVRE, Jean-Yves, BOULAIRE, Alain, CADIOU, Didier, CORVISIER, Christian, JADÉ, Patrick. Les fortifications de la rade de Brest : défense d'une ville-arsenal. Rennes : éditions Presses Universitaires de Rennes, collection Cahiers du patrimoine, 2011, n° 94, 388 p.
-
CHAZETTE, Alain, MANTEY, Olivier, DESTOUCHES, Alain, TOMINE, Jacques, PAICH, Bernard, GÉRARD, Michel, BOULARD, Emmanuel, LAQUIÈZE, Jean-François. Patrimoine fortifié de la Presqu'île de Crozon. Batterie de côte. Batteries anti-aériennes. 1880-1944. Vertou : éditions Histoire et fortifications, 2013, 64 p.
Périodiques
-
CHAZETTE, Alain, TOUSSAINT, Patrick. "Les pièces de 10,5 cm S.K. C/32 et S.K. C/33 de la Kriegsmarine. Matériels embarqués et pièces employées sur l'Atlantikwall et le Südwall : Brest - Lorient - Saint-Nazaire - Toulon". Paris, Fortifications et Patrimoine, hors-série n° 2, novembre 1999, 72 p.
Documents multimédia
-
MALCHAIR, Luc, FRIJNS, Marco, MOULINS, Jean-Jacques, PUELINCKX, Jean. "Index de la fortification française 1874-1914 - Fortiff.be".
https://fortif.be
Lien web
- Carte de la côte de Bretagne aux environs de Brest par Vauban, 4 octobre 1694 (deux batteries d'artillerie sont respectivement figurées sur l'Île Ronde et sur la pointe de Plougastel)
- Carte particulière des côtes de Bretagne contenant les environs de la rade de Brest avec une démonstration de toutes les batteries et retranchements depuis Morgat jusqu'aux Minoux par Gouyon Miniac, garde du Pavillon, 1717
- Carte de la capitainerie de Crozon, 1734
- Carte des batteries d'artillerie de la rade de Brest et de ses environs avec état de l'artillerie, 1747
- Cartes des fortifications de la ville et de la rade de Brest avec état de l'artillerie, 1778
- Carte topographique des côtes de France établie dans les années 1770-1780
Annexes
-
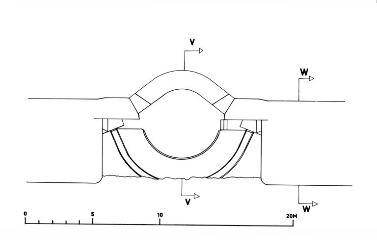
La batterie de Trémet par Philippe Truttmann (1934-2007 ; lieutenant-colonel du Génie, spécialiste de l’architecture militaire)
-
Le canon de 10,5 cm SK C/32
-
Iconographie
Chargé d'études d'Inventaire du patrimoine à la Région Bretagne.
Fait partie de
Batterie d'artillerie antiaérienne lourde Rossitten (Lo 302), Le Cosquéric (Ploemeur)
Lieu-dit : Le Cosquéric
Adresse : rue de l'Aérogare
Batterie d'artillerie antiaérienne lourde du Naye, terre-plein du Naye (Saint-Malo)
Lieu-dit : Le Naye
Batterie d'artillerie de la Droite des lignes de Quélern, Quélern (Roscanvel)
Lieu-dit : Quélern
Retranchements et fortifications extra-urbaines dites lignes de Quélern (Cr 36-39), Quélern (Roscanvel)
Lieu-dit : Quélern
Chargé d'études d'Inventaire du patrimoine à la Région Bretagne.